Product Summary
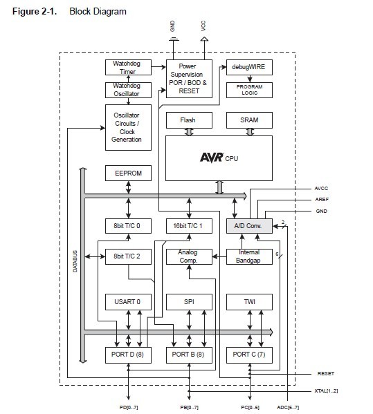
                                                  	The ATMEGA88PA-MU,SL383 is a low-power CMOS 8-bit microcontroller based on the AVR enhanced RISC architecture. By executing powerful instructions in a single clock cycle, the ATMEGA88PA-MU,SL383 achieves throughputs approaching 1 MIPS per MHz allowing the system designer to optimize power consumption versus processing speed. 
                                                  
Parametrics
ATMEGA88PA-MU,SL383 absolute maximum ratings: (1)Operating Temperature: -55℃ to +125℃ ; (2)Storage Temperature: -65℃ to +150℃; (3)Voltage on any Pin except RESET with respect to Ground: -0.5V to VCC+0.5V; (4)Voltage on RESET with respect to Ground: -0.5V to +13.0V; (5)Maximum Operating Voltage: 6.0V; (6)DC Current per I/O Pin: 40.0mA; (7)DC Current VCC and GND Pins: 200.0mA 
Features
ATMEGA88PA-MU,SL383 features: (1)High Performance, Low Power AVR8-Bit Microcontroller; (2)Advanced RISC Architecture; (3)131 Powerful Instructions Most Single Clock Cycle Execution; (4)32 x 8 General Purpose Working Registers; (5)Fully Static Operation; (6)Up to 20 MIPS Throughput at 20 MHz; (7)On-chip 2-cycle Multiplier; (8)High Endurance Non-volatile Memory Segments; (9)8K Bytes of In-System Self-Programmable Flash progam memory (ATmega88PA); (10)512 Bytes EEPROM (ATmega88PA); (11)1K Bytes Internal SRAM (ATmega88PA); (12)Write/Erase Cycles: 10,000 Flash/100,000 EEPROM; (13)Data retention: 20 years at 85℃/100 years at 25℃; (14)Optional Boot Code Section with Independent Lock Bits In-System Programming by On-chip Boot Program True Read-While-Write Operation; (15)Programming Lock for Software Security.
Diagrams

![]()  | 
                            ![]() ATMEG163POD  | 
                            ![]()  | 
                            ![]() IC AVR MCU ICE30 40PIN MEGAAVR  | 
                            ![]() Data Sheet  | 
                            ![]() Negotiable  | 
                            
                            	 | 
                      ||||
![]()  | 
                            ![]() ATmega103  | 
                            ![]() Other  | 
                            ![]()  | 
                            ![]() Data Sheet  | 
                            ![]() Negotiable  | 
                            
                            	 | 
                      ||||
![]()  | 
                            ![]() ATMEGA103-6AC  | 
                            ![]() Atmel  | 
                            ![]() 8-bit Microcontrollers (MCU) TQFP-64 128K FLASH 5  | 
                            ![]() Data Sheet  | 
                            ![]() Negotiable  | 
                            
                            	 | 
                      ||||
![]()  | 
                            ![]() ATMEGA103-6AI  | 
                            ![]()  | 
                            ![]() IC MCU 128K 6MHZ A/D IT 64TQFP  | 
                            ![]() Data Sheet  | 
                            ![]() Negotiable  | 
                            
                            	 | 
                      ||||
![]()  | 
                            ![]() ATMEGA103-6AU  | 
                            ![]() Other  | 
                            ![]()  | 
                            ![]() Data Sheet  | 
                            ![]() Negotiable  | 
                            
                            	 | 
                      ||||
![]()  | 
                            ![]() ATmega103L  | 
                            ![]() Other  | 
                            ![]()  | 
                            ![]() Data Sheet  | 
                            ![]() Negotiable  | 
                            
                            	 | 
                      ||||
 (China (Mainland)) 
                         
                        
                                    








