Product Summary
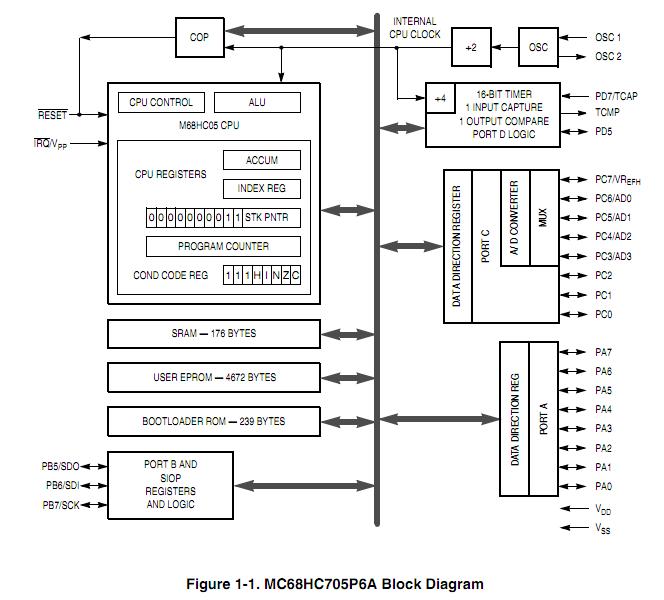
The MC705P6ACDWE is an EPROM version of the MC68HC05P6 microcontroller. It is a low-cost combination of an M68HC05 Family microprocessor with a 4-channel, 8-bit analog-to-digital (A/D) converter, a 16-bit timer with output compare and input capture, a serial communications port (SIOP), and a computer operating properly (COP) watchdog timer. The MC705P6ACDWE CPU core contains 176 bytes of RAM, 4672 bytes of user EPROM, 239 bytes of bootloader ROM, and 21 input/output (I/O) pins (20 bidirectional, 1 input-only). The MC705P6ACDWE is available in either a 28-pin plastic dual in-line (PDIP) or a 28-pin small outline integrated circuit (SOIC) package.
Parametrics
MC705P6ACDWE absolute maximum ratings: (1)Supply voltage, VDD: –0.3 to +7.0 V; (2)Input voltage, VIn: VSS –0.3 to VDD +0.3 V; (3)Bootloader mode (IRQ/VPP pin only), VIn: VSS –0.3 to 2 × VDD +0.3 V; (4)Current drain per pin excluding VDD and VSS, I: 25mA; (5)Storage temperature range, Tstg: –65 to +150℃.
Features
MC705P6ACDWE features: (1)Low cost; (2)M68HC05 core; (3)28-pin SOIC, PDIP, or windowed DIP package; (4)4672 bytes of user EPROM (including 48 bytes of page zero EPROM and 16 bytes of user vectors); (5)239 bytes of bootloader ROM; (6)176 bytes of on-chip RAM; (7)4-channel 8-bit A/D converter; (8)SIOP serial communications port; (9)16-bit timer with output compare and input capture; (10)20 bidirectional I/O lines and 1 input-only line; (11)PC0 and PC1 high-current outputs; (12)Single-chip, bootloader, and test modes; (13)Power-saving stop, halt, and wait modes.
Diagrams

| Image | Part No | Mfg | Description | ![]() |
Pricing (USD) |
Quantity | ||||||||||||
|---|---|---|---|---|---|---|---|---|---|---|---|---|---|---|---|---|---|---|
![]() |
![]() MC705P6ACDWE |
![]() Freescale Semiconductor |
![]() 8-bit Microcontrollers (MCU) MCU 176 BYTES RAM A/D |
![]() Data Sheet |
![]()
|
|
||||||||||||
![]() |
![]() MC705P6ACDWER |
![]() |
![]() IC MCU 8BIT EPROM 28-SOIC |
![]() Data Sheet |
![]() Negotiable |
|
||||||||||||
(China (Mainland))










