Product Summary
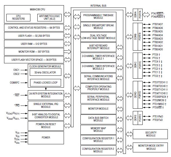
The MC908GP32CFBE is a low-cost, high-performance 8-bit microcontroller unit (MCU). The MC908GP32CFBE uses the enhanced M68HC08 central processor unit (CPU08) and are available with a variety of modules, memory sizes and types, and package types.
Parametrics
MC908GP32CFBE absolute maximum ratings: (1)Supply voltage: –0.3 to + 6.0 V; (2)Input voltage: VSS – 0.3 to VDD + 0.3 V; (3)Maximum current per pin excluding VDD, VSS, and PTC0–PTC4: ± 15 mA; (4)Maximum current for pins PTC0–PTC4: ± 25 mA; (5)Maximum current into VDD: 150 mA; (6)Maximum current out of VSS: 150 mA; (7)Storage temperature: –55 to +150 ℃.
Features
MC908GP32CFBE features: (1)High-performance M68HC08 architecture optimized for C-compilers; (2)Fully upward-compatible object code with M6805, M146805, and M68HC05 Families; (3)8-MHz internal bus frequency; (4)FLASH program memory security; (5)On-chip programming firmware for use with host personal computer which does not require high voltage for entry; (6)In-system programming; (7)System protection features: Optional computer operating properly (COP) reset, Low-voltage detection with optional reset and selectable trip points for 3.0-V and 5.0-V operation.
Diagrams

| Image | Part No | Mfg | Description | ![]()  | 
                            Pricing (USD)  | 
                            Quantity | ||||||||||||
|---|---|---|---|---|---|---|---|---|---|---|---|---|---|---|---|---|---|---|
![]()  | 
                            ![]() MC908GP32CFBE  | 
                            ![]() Freescale Semiconductor  | 
                            ![]() 8-bit Microcontrollers (MCU) I/C HC908 FLASH  | 
                            ![]() Data Sheet  | 
                            ![]() 
  | 
                            
                            	 | 
                      ||||||||||||
![]()  | 
                            ![]() MC908GP32CFBER  | 
                            ![]() Freescale Semiconductor  | 
                            ![]() 8-bit Microcontrollers (MCU) I/C HC908 FLASH  | 
                            ![]() Data Sheet  | 
                            ![]() 
  | 
                            
                            	 | 
                      ||||||||||||
 (China (Mainland)) 
                         
                        
                                    







